
Пробоотборник AISI 304 5305C DN 15 NIOB
Артикул:
7225
Применение:
|
|
|
Документация:
Технический паспорт
Скачать
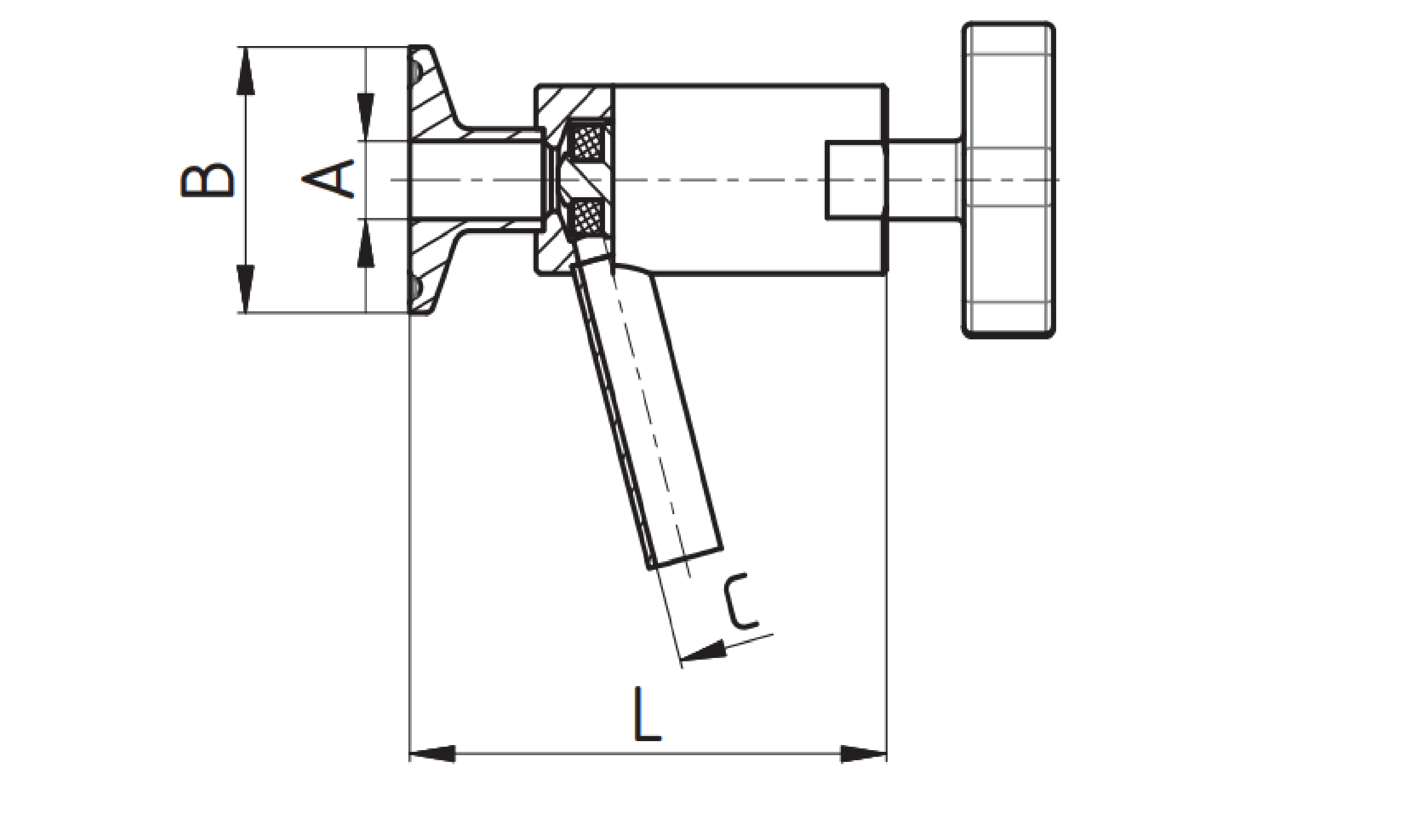
Технические характеристики:
Размер/Диаметр: | DN 15 |
Тип: | Пусто |
Марка стали: | AISI 304 |
Производитель: | NIOB |
Описание: